留言反馈
官方商城
阿里巴巴商城
首页
新品介绍
产品中心
自动消防炮系统
防爆消防炮系统
电控消防炮系统
智能末端试水系统
高压细水雾灭火系统
图像火灾探测报警系统
泡沫灭火设备泡沫灭火剂
柜式管网悬挂气体灭火系统
售后服务
售后服务资料
新闻中心
解决方案
关于我们
联系我们
首页
首页
新品介绍
产品中心
自动消防炮系统
防爆消防炮系统
电控消防炮系统
智能末端试水系统
高压细水雾灭火系统
图像火灾探测报警系统
泡沫灭火设备泡沫灭火剂
柜式管网悬挂气体灭火系统
售后服务
售后服务资料
新闻中心
解决方案
关于我们
联系我们
点击进入
点击进入
点击进入
点击进入
点击进入
点击进入
点击进入
点击进入
点击进入
产品目录
自动消防炮系统
防爆消防炮系统
电控消防炮系统
智能末端试水系统
高压细水雾灭火系统
图像火灾探测报警系统
泡沫灭火设备泡沫灭火剂
柜式管网悬挂气体灭火系统
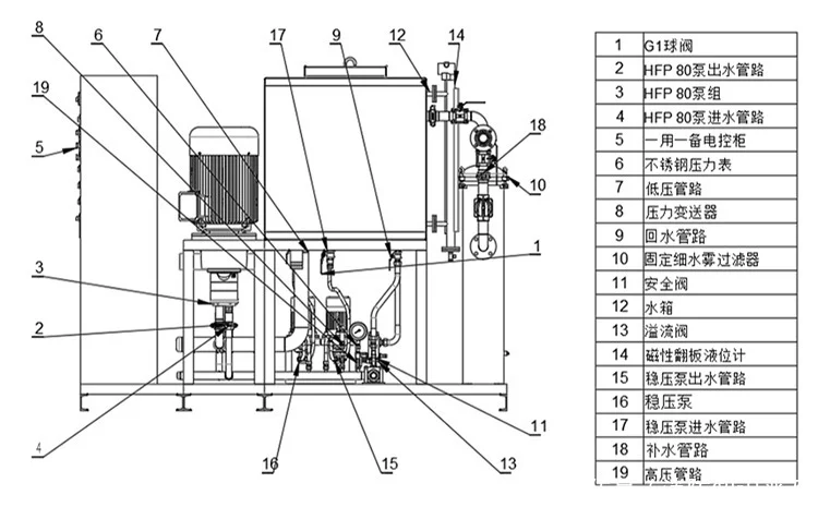
高压细水雾原理图
2021-09-30 05:35:50
28次
细水雾灭火系统分为闭式和开式两种在高压条件下,通过特殊设计的喷头,水从微型喷嘴中喷出形成极细的水雾,具有极强的灭火效能。
它除了有传统水喷淋冷却作用外,还同时具有气体系统一样排斥火焰周围氧气的能力。当水雾接触火焰时立即蒸发,体积膨胀1000多倍,大量的水蒸气迫移火焰,迅速灭火。
细水雾灭火系统由高压主泵、备用泵、稳压泵、电磁阀、过滤器、泵控制柜、水箱组件、供水管网、区域阀箱组件、高压细水雾喷头及火灾报警控制系统及补水泵等部件组成。
上一篇:
合成泡沫灭火剂是怎么包装的
下一篇:
消防水炮漏水和消防水炮安装对接技术问题
各位朋友,下面的相关文章可能对您很有帮助!
自动消防水炮的工作模式
图像火灾探测报警系统的分类
推车式高压细水雾的优势有哪些
消防泡沫罐使用知识及安装方法
柜式七氟丙烷灭火装置的优点
抗溶性泡沫灭火剂的应用范围
电控消防水炮是如何进行水炮的灭火工作?
高压细水雾的使用说明与适用场所
移动式泡沫罐的用途
IG541气体灭火系统的介绍
泡沫灭火剂的作用及灭火原理
自动消防水炮安装时要注意事项
图像型火灾探测器的保护范围
移动式高压细水雾灭火装置的操作过程
消防泡沫罐的内部结构
气体灭火控制系统的形式?
最新新闻
自动消防水炮的工作模式
图像火灾探测报警系统的分类
推车式高压细水雾的优势有哪些
消防泡沫罐使用知识及安装方法
柜式七氟丙烷灭火装置的优点
抗溶性泡沫灭火剂的应用范围
电控消防水炮是如何进行水炮的灭火工作?
高压细水雾的使用说明与适用场所
移动式泡沫罐的用途
IG541气体灭火系统的介绍
苏公网安备 32058102001616号